<!DOCTYPE html>
<!--[if IE 8]>          <html class="ie ie8"> <![endif]-->
<!--[if IE 9]>          <html class="ie ie9"> <![endif]-->
<!--[if gt IE 9]><!-->  <html> <!--<![endif]-->
    <head>
        <meta charset="utf-8" />
        <title>2023锂电池最大融资，诞生了 - 行业新闻 - 新闻中心 - 固态电池,新能源</title>
        <meta name="keywords" content="固态电池,新能源" />
        <meta name="description" content="近日，上汽集团发布公告称：拟通过嘉兴创颀与嘉兴颀骏一号两只基金，向清陶能源追加投资不超过27亿元；其中，嘉兴创颀出资不超过19.7亿元，嘉兴颀骏一号出资不超过7.3亿元。" />
        <meta name="Author" content="" />
        <!-- <meta name="viewport" content="width=device-width, maximum-scale=1, initial-scale=1, user-scalable=0" /> -->
        <link rel="canonical" href="/hyxw/202306/D17F50F2207BB14627DCDE17D3BBF109.htm"/>
        <!--[if IE]><meta http-equiv='X-UA-Compatible' content='IE=edge,chrome=1'><![endif]-->
        <!-- 核心样式文件 -->
        <link href="../../hdui/app/plugins/bootstrap/css/bootstrap.min.css" rel="stylesheet" type="text/css" />
        <link href="../../hdui/app/css/hdcore.css" rel="stylesheet" type="text/css" />
        <link href="../../hdui/app/css/layout.css" rel="stylesheet" type="text/css" />

        <!-- 根据需要选择或调整以下样式文件 -->
        <link href="../../hdui/app/css/header-1.css" rel="stylesheet" type="text/css" />
        <link href="../../hdui/app/css/color_scheme/orange.css" rel="stylesheet" type="text/css" id="color_scheme" />
        <!-- 项目自定义布局及重写文件 -->
        <link href="../../hdimg/bas/css/hdcss.css" rel="stylesheet" type="text/css" />
    </head>
    <body class="smoothscroll enable-animation">
                              <div class="b1 box">
                            <div class="b1_logo" data-scroll-reveal="enter left over 0.5s and move 300px" data-scroll-reveal-id="1">
                                    <a href="/"><img src="../../hdimg/bas/logo.png" height="64" width="238" alt="logo"></a>                            </div>
                            <ul class="navBar" data-scroll-reveal="enter fade over 0.5s and move 300px" data-scroll-reveal-id="2" style="-webkit-perspective: none !important;">
                                <li class="m">
                                    <div><a href="/" title="网站首页">网站首页</a></div>
                                </li>
                                                                            <li class="m ico">
                                                <div><a href="/gsjs/index/" title="关于大象">关于大象</a></div>
                                                                                                            <ul class="sub">
                                                                                                                                      <li><a href="/gsjs/index/" title="公司介绍">公司介绍</a></li>
                                                                      |                                                                                                                                      <li><a href="/fzlc/index/" title="发展历程">发展历程</a></li>
                                                                      |                                                                                                                                      <li><a href="/qywh/index/" title="企业文化">企业文化</a></li>
                                                                                                                                                                                                  </ul>
                                                                                              </li>
                                                                                  <li class="m ico">
                                                <div><a href="/gsxw/index/" title="新闻中心">新闻中心</a></div>
                                                                                                            <ul class="sub">
                                                                                                                                      <li><a href="/gsxw/index/" title="公司新闻">公司新闻</a></li>
                                                                      |                                                                                                                                      <li><a href="/hyxw/index/" title="行业新闻">行业新闻</a></li>
                                                                                                                                                                                                  </ul>
                                                                                              </li>
                                                                                  <li class="m ico">
                                                <div><a href="/gxmsl/index/" title="产品中心">产品中心</a></div>
                                                                                                            <ul class="sub">
                                                                                                                                      <li><a href="/gxmsl/index/" title="正极材料">正极材料</a></li>
                                                                                                                                                                                                  </ul>
                                                                                              </li>
                                                                                  <li class="m ico">
                                                <div><a href="/zljs/index/" title="技术中心">技术中心</a></div>
                                                                                                            <ul class="sub">
                                                                                                                                      <li><a href="/zljs/index/" title="专利技术">专利技术</a></li>
                                                                      |                                                                                                                                      <li><a href="/kjjl/index/" title="科技奖励">科技奖励</a></li>
                                                                      |                                                                                                                                      <li><a href="/yftd/index/" title="研发团队">研发团队</a></li>
                                                                                                                                                                                                  </ul>
                                                                                              </li>
                                                                            <li class="m">
                                          <div><a href="/cpycsub/index/" title="诚聘英才">诚聘英才</a></div>
                                      </li>
                                   <li class="m"><div style="margin-left: 0;width: 60px;"><a href="https://www.yunzhijia.com/home/?m=login&a=index" target="_blank">OA</a></div></li>
                                   <a href="http://mail.dxholding.com/" target="_blank" style="float:left;"><div class="mail" style="margin-left: 0;width: 50px;"></div></a>
                            </ul>
                    </div>                     <div class="b7">
                    <div class="box">
                            <div class="b7_left">
                                    <div class="b7_cls">新闻中心</div>
                                    <div class="b7_nav">您当前的位置: <a href="/">首页</a> > <a>新闻中心</a> ><a>行业新闻</a></div>
                            </div>
                            <div class="b7_txt">新材料   新能源   新生活</div>
                    </div>
            </div>
            <div class="b8">
                    <ul class="box">
                                                                         <li>
                                                  <a href="/gsxw/index/">公司新闻</a>
                                             </li>
                                                                           <li class="on">
                                                  <a href="/hyxw/index/">行业新闻</a>
                                             </li>
                                                  </ul>
            </div>          <div class="b9 box">
                    <div class="d_page">
                      <div class="d_title"> 2023锂电池最大融资，诞生了</div>
                      <div class="d_info">编辑：   更新于：2023-06-08 09:00:00  阅读：<span id="visitCount"></span></div>
                       <div class="d_con">
                         <!--ewebeditor:page title=""-->
<p>
<br>
近日，上汽集团发布公告称：拟通过嘉兴创颀与嘉兴颀骏一号两只基金，向清陶能源追加投资不超过27亿元；其中，嘉兴创颀出资不超过19.7亿元，嘉兴颀骏一号出资不超过7.3亿元。
<br>
<br>
据公开资料显示，早在2020年6月、2022年1月，上汽集团就先后两次参与了清陶能源的融资。此次投资完成后，上汽集团将共持有清陶能源约15.29%的股权。
<br>
<br>
如果再梳理融资历史就会发现，自2016年成立后，清陶能源已经完成了11轮融资。除了上汽集团之外，广汽集团、北汽集团都先后注资。财务投资机构也堪称豪华：峰瑞资本、清控银杏、首业资本、和高资本、上海科创基金等一批知名机构都位列其中。
<br>
<br>
清陶能源到底什么来头，受到资本如此追捧？</p>
<p style="text-align: center;"><strong>清华院士带队创业，7年融了11轮</strong></p>
<p style="text-align: left;">
<br>
先罗列一些关键信息：清华院士团队、投前估值206亿、固态锂电池赛道，公司400wh/kg的第二代产品即将列装上汽整车产品。
<br>
<br>
2016年，中科院院士、清华大学教授南策文与其学生冯玉川、李峥等人，组成创业团队成立了清陶能源，主攻固态锂电池的研发与生产。
<br>
<br>
当时，固态锂电池仍是实验室中的技术。不过因其远超液态锂电池的能量密度和安全性，受到学界和产业界的高度关注。
<br>
<br>
南策文就是长期为固态电池鼓与呼的学者。在接受《能源评论》的采访时，他分析道“全固态锂电池……取代传统电池里的隔膜和电解液，从而解决安全问题。同时，采用全固态电解质后，可以使用金属锂作为负极，从而提升能量密度……从解决安全问题、用现有的材料来提高能量密度角度来看，全固态锂电池可预期满足产业发展的需求，值得大力发展。”
<br>
<br>
而再往前，南策文团队是国内最早研究固态电池的科研团队之一。1997年，国家科教领导小组推动实施“基础研究重大项目计划”，简称“973”。这是我国加强基础科学研究的重要举措。
<br>
<br>
在“973”的众多科研项目中，功能陶瓷的研究方向就落在了清华大学材料系教授南策文身上。自2002年后，南策文带领团队在该领域不断攻坚。固态锂电池正是其中的课题之一。2006年，南策文团队研发的LLTO（锂镧钛氧）固态电解质材料表现出优秀性能；2010年开发的石榴石结构LLZO（锂镧锆氧）固态电解质材料工艺成熟。这些早期的技术积累，为此后清陶能源的发展奠定了坚实基础。
<br>
所以当2016年选择创业时，清陶能源立刻收到苏州昆山当地政府的大力支持，并在一年之内完成了峰瑞资本A、B两轮投资。
<br>
<br>
昆山政府和早期投资者没有押错。
<br>
<br>
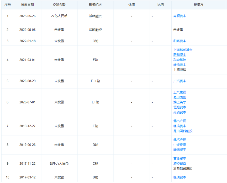
在成立两年后，清陶能源的固态电解质产业化基地就开始投产。其产品开始供应数码产品和特种储能领域。随后清陶能源几乎按照一年一轮（甚至一年两年轮）的速度快速融资扩张。（如下图）。</p>
<p style="text-align: center;"><img border="0" src="../../hdatt/img/202306/20230612160953437.png"></p>
<p style="text-align: left;">
<br>
不到7年的时间，清陶能源已经成长为估值超过200亿的超级独角兽，更是固态电池赛道的头号玩家。
<br>
<br>
目前，清陶能源的管理团队均出身清华。董事长冯玉川，2003年考入清华大学材料科学与工程系就读本科，2007年继续攻读硕士学位，在科研期间，与日本丰田等公司开展固态电解质材料开发的深度合作，拥有锂电池行业丰富的管理经验。
<br>
<br>
清陶能源总经理、CTO李峥，则是冯玉川同门同学，在清华大学材料科学与工程系先后取得本科、博士学位、并且毕业后在江苏省能源复合材料工程技术研究中心主任。
<br>
<br>
据天眼查显示，清陶能源的股权结构中，冯玉川持股14.65%，李峥持股14.21%，南策文持股8.88%（本轮融资前）。
<br>
<br>
除此之外，清陶能源的多位技术骨干和管理人员均来自清华材料科学与工程。这样一支兼具科研实力和产业管理经验的强大团队，正是清陶能源迅猛发展的第一动力。</p>
<p style="text-align: center;"><strong>联手产业巨头，第二代产品即将下线</strong></p>
<p style="text-align: left;">那么清陶能源的业务进展到底如何？
<br>
<br>
先来看看主营业务。到目前，清陶能源已经发展出三大业务版块：
<br>
<br>
其一是新材料版块，包括固态电解质材料、复合隔膜材料和凹土新材料；其二是固态锂电池版块，包括电芯、动力电池、数码电池和特种储能等产品；其三是自动化装备版块，包括自动化设备包括隔膜涂布机、高金福锂电池隔膜分条机等锂电池自动化设备。此外，还包括锂电池回收等业务。
<br>
<br>
用清陶能源自己的话说，形成了“新能源材料—固态锂电池—自动化装备—锂电池资源综合利用—科研转化—产业投资”的完整产业链布局。
<br>
<br>
而在技术路径的选择上，李峥在今年5月召开的“国际先进电池前沿技术研讨会”上披露道，“（清陶与清华大学的研发团队）提出了以有机-无机复合固态电解质为研发技术路线，在保持无机固态电解质的性能优势的基础上，通过复合材料设计改善工艺性能，从而为固态电池产品化提供了可能性。”
<br>
<br>
南策文此前接受采访时，对复合路线选择给出了解释，“（无机-聚合物的复合体系）可以使离子电导率保持较高水平，而且可以做到柔性，保证高分子的加工性、柔性，特别是它可较大程度上利用现有锂离子电池制造平台，可基于现有平台，根据固态电解质引入以后所发生的变化特征，来调整相应的制造设备。要快速转向大规模产业化，可能最容易的一条路线还是无机-聚合物复合体系先试先行。”
<br>
<br>
目前，清陶能源已经申请国家专利500多项，其中一半是发明专利，获得授权的有300多项。
<br>
<br>
据清陶能源公布的产品/产能进展看，清陶量产的第一代产品是半固态电池，液含量在5%-15%之间，能量密度在240-420Wh/kg之间，已经拥有1.7GWh现有产能和10GWh在建产能；
<br>
<br>
第二代准固态电池液含量小于5%，能量密度为400-500Wh/kg，即将与上汽集团合作，装配到上汽整车产品上；
<br>
<br>
第三代全固态电池内没有任何液体，目前已经完成了实验室阶段的验证，正在进行产线的设计和工艺开发相关工作，能量密度在500Wh/kg以上。
<br>
<br>
再统计一下清陶能源的产能。去年底清陶能源产能达到1.7GWh。今年2月，与成都郫都区达成战略合作，将投资100亿元，建设15GWh清陶能源动力固态电池储能产业基地。而据东吴证券披露的信息，清陶能源远期规划将拥有35GWh产能，其中宜春10GWh，昆山10.7GWh，成都15GWh。
<br>
<br>
提及产品研发与产能扩张，就不得不提及清陶能源与产业资本的合作。
<br>
<br>
2020年7月，搭载清陶固态电池的北汽集团、哪吒U纯电样车下线。一年后，轻量化的固态电池产品又携手广汽埃安亮相车展，这款产品的电芯能量密度达到了320Wh/kg。2022年11月，清陶能源还与北汽福田联合开发了了首套商用车固态电池系统，目前已经完成调试，正式下线。
<br>
<br>
不过合作最深的还是本次的投资方上汽集团。
<br>
<br>
上汽集团于去年7月，与清陶能源共同挂牌成立了固态电池联合实验室。其目的是共同打造适用于上汽第二代技术底座2.0版本的固态电池技术。苏州清陶新能源科技有限公司总经理、清陶研究院院长何泓材在一次演讲中就说道，“清陶与上汽集团联合开发了一款电池，能量密度达到了368Wh/kg，单体总量是116Ah……整个电池的循环寿命可以超过1000次。以CLTC综合续航工况实测的续航里程可以达到1038公里。”
<br>
<br>
想必很快搭载清陶能源固态电池的上汽整车就会面世。而清陶能源与上汽集团的合作取得突破性进展，或许正是本次上汽决定战投的主要原因之一。</p>
<!--/ewebeditor:page-->
<!--ewebeditor:page title=""-->
<p style="text-align: center;"><strong>固态电池，全球逐鹿</strong></p>
<p style="text-align: left;">固态电池作为电池产业链的“圣杯”，早就挤满了重量级玩家。
<br>
<br>
比亚迪、宁德时代、赣锋锂业、国轩高科、亿纬锂能等新能源汽车公司/电池公司在固体锂电池赛道早有布局。而在非上市的科创企业中，也不止清陶能源一家。同样是院士带队的卫蓝新能源也颇具实力。
<br>
<br>
2016年，中科院院士陈立泉、研究员李泓、北汽总工俞会根共同创立的卫蓝新能源。已经发展为国内固态电池领域的头部企业。
<br>
<br>
据公开资料显示，卫蓝新能源已经拥有了湖州、溧阳、淄博等多个生产线。2020年8月，溧阳基地中试线投产。2022年6月，湖州基地投产。其能量密度360Wh/kg的固态电池产品，计划将在蔚来ET7上率先使用。
<br>
<br>
在资本端，卫蓝新能源的融资表现不俗。自2017年获得天使轮投资后，一共完成8轮融资。在最近的D轮融资中，中信建投、中科创星、顺为资本、招商资本、国投创益、联想创投等17家机构共同注资15亿元。其估值也近200亿。
<br>
<br>
还有一点值得一提。仔细对比卫蓝新能源和清陶能源两家公司的产业投资方，就会发现其中的竞合关系：押注卫蓝新能源的公司有小米、蔚来、华为、吉利。而抱团清陶能源的是上汽、北汽、广汽和哪吒汽车。不同的产业资本，或将影响固态电池未来的市场格局。
<br>
<br>
再放眼全球市场，美日韩等国也在固态电池赛道上齐头并进。丰田、松下、本田、三星、Solid Power、Quantum Scape 等公司都摩拳擦掌。
<br>
<br>
丰田在2014年就在研发出400Wh/kg的固态电池，计划2025年左右量产。三星在2022年3月开始建设全固态电池试验线，计划在2027年量产。
<br>
<br>
美国企业Solid Power与福特、宝马和现代等汽车公司合作，在2021年交付了能量密度320wh/kg的全固态电池，计划到2025年开始量产350wh/kg的硫化物全固态电池。另一家美国公司Quantum Scape，则与大众等企业建立合作，计划在2024年建设1Gwh的试生产线，2025年开始量产。
<br>
<br>
据华泰证券的研究预测，全固态电池普及可能要等到2030年左右。但显然对于锂电池研发企业而言，2025年前后就将迎来第一波产能扩张。
<br>
</p>
<!--/ewebeditor:page-->                       </div>
                       <ul class="pager" id="prevnext"></ul>
                    </div>
                    <div style="clear:both;"></div>
           </div>
           <div class="b6">
    <div class="box">
        <ul class="b6_nav" data-scroll-reveal="enter left over 1s and move 300px" data-scroll-reveal-id="8">
                            <li class="m">
                    <div class="b6_cls">
                        <a href="/gsjs/index/" title="关于大象">关于大象</a>
                    </div>
                                            <ul class="b6_sub">
                                                            <li><a href="/gsjs/index/" title="公司介绍">公司介绍</a></li>
                                                            <li><a href="/fzlc/index/" title="发展历程">发展历程</a></li>
                                                            <li><a href="/qywh/index/" title="企业文化">企业文化</a></li>
                                                    </ul>
                                    </li>
                            <li class="m">
                    <div class="b6_cls">
                        <a href="/gsxw/index/" title="新闻中心">新闻中心</a>
                    </div>
                                            <ul class="b6_sub">
                                                            <li><a href="/gsxw/index/" title="公司新闻">公司新闻</a></li>
                                                            <li><a href="/hyxw/index/" title="行业新闻">行业新闻</a></li>
                                                    </ul>
                                    </li>
                            <li class="m">
                    <div class="b6_cls">
                        <a href="/gxmsl/index/" title="产品中心">产品中心</a>
                    </div>
                                            <ul class="b6_sub">
                                                            <li><a href="/gxmsl/index/" title="正极材料">正极材料</a></li>
                                                    </ul>
                                    </li>
                            <li class="m">
                    <div class="b6_cls">
                        <a href="/zljs/index/" title="技术中心">技术中心</a>
                    </div>
                                            <ul class="b6_sub">
                                                            <li><a href="/zljs/index/" title="专利技术">专利技术</a></li>
                                                            <li><a href="/kjjl/index/" title="科技奖励">科技奖励</a></li>
                                                            <li><a href="/yftd/index/" title="研发团队">研发团队</a></li>
                                                    </ul>
                                    </li>
                        <li class="m" style="margin-right:0;">
                <div class="b6_cls"><a href="/cpycsub/index/" title="诚聘英才">诚聘英才</a></div>
            </li>
        </ul>
        <div class="b6_bar" style="margin-top:35px;" data-scroll-reveal="enter right over 1s and move 300px" data-scroll-reveal-id="9">
            <div class="pull-left">
                                        <img src="../../hdatt/gimg/202009/20200911121314_529592.png" style="width:240px;height:125px;" title="页脚广告位" alt="页脚广告位" />
                            </div>
            <div style="float:right;margin-left: 15px;color:#fff;line-height: 25px;">
                <!-- <span class="m1">地址：</span><br>
                                            <span class="m2">电话：</span><br>
                                            <span class="m3">传真：</span><br>
                                            <span class="m4">邮编：</span><br>
                                            <span class="m5">邮箱：</span><br> -->
                <img src="/hdimg/yj.png" style="width:300px;height:150px;" alt="页脚广告位" />
            </div>
        </div>
    </div>
    <div class="b6_info" data-scroll-reveal="enter fade over 1s and move 300px" data-scroll-reveal-id="10">
        CopyRights &copy; <script type="text/javascript">
            var curr_date = new Date();
            document.write(curr_date.getFullYear());
        </script> All Rights Reserved 版权所有 甘肃大象能源科技有限公司 <a href="http://beian.miit.gov.cn/" target="_blank">陇ICP备17005897号</a> <a target="_blank" href="http://www.beian.gov.cn/portal/registerSystemInfo?recordcode=62040302000008" style="display:inline-block;text-decoration:none;height:20px;line-height:20px;"><img src="../../hdimg/bas/beian.png" alt="公安备案" />甘公网安备 62040302000008号</a> <a href="/flsmsub/index/">法律声明</a> 设计制作 <a href="http://www.hongdianwangluo.com" target="_blank">宏点网络</a>
    </div>
</div>
<!-- SCROLL TO TOP -->
<a href="#" id="toTop"></a>
<div class="mload modal fade" id="modal" role="basic" aria-hidden="true">
    <div class="modal-dialog">
        <div class="modal-content"><div class="text-center padding-30 margin-top-20"><img src="/hdui/app/images/loaders/10.gif" alt="loading" title="loading" /><p class="margin-top-20">正在加载，请稍后...</p></div></div>
    </div>
</div>
<div class="mload modal fade" id="modal-sm" role="basic" aria-hidden="true">
    <div class="modal-dialog modal-sm">
        <div class="modal-content"><div class="text-center padding-30 margin-top-20"><img src="/hdui/app/images/loaders/10.gif" alt="loading" title="loading" /><p class="margin-top-20">正在加载，请稍后...</p></div></div>
    </div>
</div>
<div class="mload modal fade" id="modal-lg" role="basic" aria-hidden="true">
    <div class="modal-dialog modal-lg">
        <div class="modal-content"><div class="text-center padding-30 margin-top-20"><img src="/hdui/app/images/loaders/10.gif" alt="loading" title="loading" /><p class="margin-top-20">正在加载，请稍后...</p></div></div>
    </div>
</div>
<div class="mload modal fade" id="modal-full" role="basic" aria-hidden="true">
    <div class="modal-dialog modal-full">
        <div class="modal-content"><div class="text-center padding-30 margin-top-20"><img src="/hdui/app/images/loaders/10.gif" alt="loading" title="loading" /><p class="margin-top-20">正在加载，请稍后...</p></div></div>
    </div>
</div>
<!-- JAVASCRIPT FILES -->
<script type="text/javascript">
    var plugin_path = '../../hdui/app/plugins/';
</script>
<script type="text/javascript" src="../../hdinc/jquery.min.js"></script>
<script type="text/javascript" src="../../hdui/app/plugins/bootstrap/js/bootstrap.min.js"></script>
<script type="text/javascript" src="../../hdinc/jquery.SuperSlide.js"></script>
<script type="text/javascript" src="../../hdinc/scrollReveal.min.js"></script>
<script type="text/javascript" src="../../hdui/app/js/hdjs.js"></script>
<script>
    $(document).ready(function() {
        $.get("/hdapp/bas/e.php?ac=sys_count");
        jQuery(".navBar").slide({
            type: "menu",
            titCell: ".m",
            targetCell: ".sub",
            effect: "slideDown",
            delayTime: 300,
            triggerTime: 0,
            returnDefault: true
        });
        $('.b6_tog img').eq(0).show();
        $('.b6_menu li').hover(function() {
            var index = $(this).index();
            $(this).addClass('on').siblings().removeClass('on');
            $('.b6_tog img').eq(index).stop().fadeIn().siblings().hide();
        });
    });
</script>
<script>
    window._bd_share_config = {
        "common": {
            "bdSnsKey": {},
            "bdText": "",
            "bdMini": "2",
            "bdMiniList": false,
            "bdPic": "",
            "bdStyle": "0",
            "bdSize": "16"
        },
        "slide": {
            "type": "slide",
            "bdImg": "3",
            "bdPos": "right",
            "bdTop": "100"
        }
    };
    with(document) 0[(getElementsByTagName('head')[0] || body).appendChild(createElement('script')).src = 'http://bdimg.share.baidu.com/static/api/js/share.js?v=89860593.js?cdnversion=' + ~(-new Date() / 36e5)];
</script><script>
$(document).ready(function() {
            $.get('../../hdapp/bas/col_prevnext.php?id=351',function(data){
                 $('#prevnext').html(data);
            });
            $('#visitCount').load("../../hdapp/bas/e.php?ac=col_visit&id=351");
            $.get('../../hdapp/bas/col_fdb.php?id=351&burl=aHR0cHM6Ly93d3cuZHhob2xkaW5nLmNvbS9oZGFwcC9iYXMvY29sX2RldGFpbC5waHA/aWQ9MzUx',function(data){
                 $('#comments').html(data);
            });
});
</script>
    </body>
</html>